
3061240
PDI46U-LLD
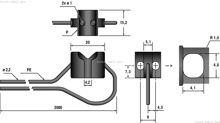
Пластиковое волокноРаздвоенное волокно
Альтернативный номер заказа: 61240
- Работа: диффузный/барьерный режим
- Полиэтиленовая оболочка, гибкая
- Рабочая температура: -30…+70 °С
- Кабель, прямой, настраиваемый
- Концевая муфта для датчика: Пластиковый адаптер для монтажа на небольших трубках с наклонным лучом
- Оптическое волокно, диаметр сердцевины 1,0 мм
- Оптическое волокно, общая длина: ± 1829 мм
Купить TURCK 3061240 PDI46U-LLD или получить консультацию Вы можете по указанным ниже Контактам
Технические характеристики
| EAN | 662488612405 |
| eCl@ss-код (V5.1.4): | 27061090 -/- Готовое оптическое волокно (не классифицировано) |
| Страна происхождения | JP |
| Масса | 57 г |
| Тип обнаружения | Бесконтактный |
| Среда | Жидкости |
| Материал корпуса | Пластик, PE, черный |
| Температура окружающей среды | -30…+70 °С |
| Класс защиты | IP67 |
| Принцип измерения | Оптический |
